5.6.3. Определение компонентов изделия и установление их технических параметров. Исследование рекламаций и замечаний потребителей по качеству
Процесс определения компонентов изделия и установление их технических параметров удобно разобрать на примере изделия технического назначения – обратного клапана. Такой клапан применяется в авиационных и ракетных двигателях.
Общее описание изделия
Назначение. Обратный клапан предназначен для проведения потока газа (воздуха) из входной магистрали в выходную и предотвращения проведения потока газа из выходной магистрали во входную.
Надсистема. Обратный клапан является частью пневмо-гидросистемы управления двигательной установкой летательного аппарата (самолета, вертолета).
Область применения. Обратный клапан может быть использован в любых пневмо– и гидросистемах, где возникает задача одностороннего проведения потока жидкости или газа.
Стадии жизненного цикла. Жизненный цикл обратного клапана включает стадии:
• разработки;
• изготовления деталей;
• сборки;
• испытаний;
• разборки и проверки состояния деталей;
• повторной сборки;
• монтажа (в надсистему);
• эксплуатации в течение заданного ресурса;
• демонтажа;
• утилизации.
Требования к обратному клапану (по ТУ).
1. Наружный диаметр трубопровода, в магистраль которого установлен обратный клапан, – 10мм.
2. Перепад давлений на входе и выходе обратного клапана, при котором клапан открывается, – 0,1 атм.
3. Перепад давлений на входе и выходе обратного клапана, при котором клапан закрывается, – 0,05 атм.
4. Допустимая степень негерметичности клапана в закрытом состоянии по изменению давления за 1 час работы – не более 2,5 %.
5. Допустимая негерметичность корпуса клапана по изменению давления за 1 час работы – не более 0,5 %.
6. Допустимое аэродинамическое сопротивление, вносимое клапаном в магистраль, по перепаду давлений – не более 5 %.
7. Вид газа в трубопроводе – воздух.
8. Температура газа в трубопроводе – от – 10 °C до + 40 °C.
9. Влажность газа в трубопроводе – от 35 % до 65 %.
10. Содержание примесей газа в трубопроводе – не более 0,1 %.
11. Максимально возможное давление газа в трубопроводе – 2 атм.
12. Масса обратного клапана – не более 85 г.
Устройство и работа изделия.
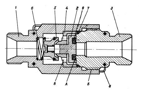
Устройство обратного клапана приведено на эскизе (рис. 5.31).
Корпус 1 соединяется с выходным трубопроводом гидроневмо-системы управления двигателем (надсистемы) с помощью гайки (на эскизе не показана). Входной трубопровод надсистемы соединяется со штуцером 3 также с помощью гайки (на эскизе не показана).
Поток воздуха из входного трубопровода поступает через штуцер 3 на тарель клапана 2, на которой создает усилие. Это усилие уравновешивается усилием, создаваемым пружиной 6, закрепленной в выемке корпуса 1, и передаваемым от пружины на тарель клапана с помощью опорной втулки 5, навинченной на тарель клапана 2. При превышении давления во входном трубопроводе над давлением в выходном усилие входного потока преодолевает усилие пружины, тарель клапана перемещается по направляющей втулке 4, открывая для потока доступ в выходной трубопровод. Поток, проходя через зазор между штуцером и тарелью клапана, далее проходит через зазор между тарелью клапана и втулкой направляющей, затем через отверстия В и далее через витки пружины 6 и выходное отверстие в корпусе 1 проходит в выходную магистраль. При равенстве давлений во входном и выходном трубопроводе или превышении давления воздуха в выходном трубопроводе над давлением во входном, усилие пружины преодолевает усилие, создаваемое потоком воздуха, перемещая тарель клапана 2 до контакта тарели со штуцером 3. При этом буртик А заходит в паз эластичной вставки 9, обеспечивая герметичность клапана. Уплотнение 7 служит для предотвращение попадания воздуха из входной магистрали в атмосферу. Для предотвращения саморазвинчивания клапана по резьбовому соединению Б корпус и штуцер соединяются проволокой 8. Резьбовое соединение Б обеспечивает также возможность разборки клапана для проверки состояния его компонентов после испытаний клапана.

Рис. 5.31. Обратный клапан. Эскиз изделия
Построение компонентной модели объекта
Компонентная модель клапана строится просто – по эскизу и описанию изделия. Надсистема обозначена Н1 (входной трубопровод в клапан) и Н2 (выходной трубопровод из клапана). Компонентная модель приведена в табл. 5.5.
Таблица 5.5
Матрица компонентов

Построение структурной модели объекта
В табл. 5.6 указано наличие связей между компонентами, а в табл. 5.7 – вид и характеристика связей. Очевидно, что матрица наличия связей – симметричная.
Таблица 5.6
Матрица наличия связей между компонентами


Таблица 5.7
Матрица вида связей


Построение функциональной модели объекта
Функциональная модель приведена в табл. 5.8.
Таблица 5.8
Матрица функций




Построение «домика качества» для изделия в целом и «домиков качества» компонентов
В качестве требований потребителя для такого изделия технического назначения, как обратный клапан, можно использовать функции. Фрагмент «домика качества» для изделия в целом представлен на рис. 5.32. Фрагмент «домика качества» для компонента «корпус» приведен на рис. 5.33.

Рис. 5.32. Фрагмент «домика качества» для изделия в целом

Рис. 5.33. Фрагмент «домика качества» для компонента «корпус»
Важно отметить, что при построении домика качества компонентов параметры КАК изделия в целом переходят в параметры ЧТО компонента.
Исследование рекламаций и замечаний потребителей по качеству
Рекламации и замечания потребителя по качеству используются для:
• формирования плана по качеству изделия в целом (что улучшить и на сколько баллов по сравнению с прототипом);
• формирования плана по качеству компонентов;
• оценки организационной сложности изменения технических параметров изделия в целом и компонентов.
План по качеству изделия в целом переходит в целевые показатели компонентов изделия. Таким образом, рекламации и замечания учитываются и при планировании качества компонентов. Поэтому высока вероятность того, что повторных рекламаций и замечаний на аналогичные темы в новом изделии не будет (конечно, при результативной работе системы менеджмента качества).
Более 800 000 книг и аудиокниг! 📚
Получи 2 месяца Литрес Подписки в подарок и наслаждайся неограниченным чтением
ПОЛУЧИТЬ ПОДАРОК