Раздел IV. ПРОЕКТИРОВАНИЕ И РАЗВИТИЕ ОРГАНИЗАЦИЙ

Тема 10. Типы организационных структур управления

Формы и методы реализации принципов формирования организационных структур позволяют выделить несколько типов организационных структур. Так, по уровню (степени) дифференциации и интеграции функций управления выделяются два класса структур:

1) механистические (бюрократические), пирамидальные, основанные на централистском типе интеграции;

2) органические или адаптивные, многомерные, основанные на сочетании централистского и свободных типов интеграции.

10.1. Механистические (бюрократические) пирамидальные структуры

Устойчивость и рационализм выступали приоритетными параметрами формирования бюрократических структур управления организациями уже в начале XX в. Концепция бюрократии, сформулированная тогда немецким социологом М. Вебером, содержит следующие характеристики рациональной структуры:

- четкое разделение труда, что приводит к появлению высококвалифицированных специалистов в каждой должности;

- иерархичность уровней управления, при которой каждый нижестоящий уровень контролируется вышестоящим и подчиняется ему;

-  наличие взаимоувязанной системы обобщенных формальных правил и стандартов, обеспечивающей однородность выполнения сотрудниками их обязанностей и скоординированность различных задач;

-  формальная обезличенность выполнения официальными лицами должностных обязанностей;

- осуществление найма на работу в строгом соответствии с квалификационными требованиями; защищенность служащих от произвольных увольнений.

К пирамидальным бюрократическим структурам относятся линейная, функциональная, линейно-функциональная, линейно-штабная, дивизиональные организационные структуры.

10.2. Линейная структура управления

Линейная структура управления, схема которой представлена на рис. 10.2.1, реализует принцип единоначалия и централизма, предусматривает выполнение одним руководителем всех функций управления, подчинение ему на правах единоначалия всех нижестоящих подразделений.

Рис. 10.2.1. Линейная структура управления

Это одна из простейших организационных структур управления. В линейных структурах четко проявляется иерархия: во главе каждого структурного подразделения находится руководитель-единоначальник, наделенный всеми полномочиями, осуществляющий единоличное руководство и сосредоточивающий в своих руках все функции управления.

При линейной структуре управления каждое звено и каждый подчиненный имеют одного руководителя, через которого по одному каналу единовременно проходят все команды. В этом случае управленческие звенья несут ответственность за результаты всей деятельности управляемых объектов. Речь идет о пообъектном выделении руководителей, каждый из которых выполняет все виды работ, разрабатывает и принимает решения, связанные с управлением данным объектом.

Поскольку в линейной структуре управления решения передаются по цепочке сверху вниз, а сам руководитель низшего звена управления подчинен руководителю более высшего над ним уровня, формируется своего рода иерархия руководителей данной конкретной организации (например, зав. секцией, начальник отдела, директор магазина или мастер участка, инженер, начальник цеха, директор предприятия). В данном случае действует принцип единоначалия, суть которого состоит в том, что подчиненные выполняют распоряжения только одного руководителя. В линейной структуре управления каждый подчиненный имеет своего начальника, а каждый начальник — несколько подчиненных. Такая структура функционирует в небольших организациях, а в крупных — на низшем уровне управления (секция, бригада и т. д.).

Линейная организационная структура управления имеет свои преимущества и недостатки (табл. 10.2.1).

Таблица 10.2.1

Преимущества и недостатки линейной структуры управления

10.3. Функциональная структура управления

В функциональных структурах управления создаются функциональные подразделения, наделенные полномочиями и ответственностью за результаты своей деятельности. Линейные звенья отличаются от функциональных интеграцией функций управления объектом, набором полномочий и ответственности.

Суть функциональной структуры управления состоит в том, что выполнение отдельных функций по конкретным вопросам возлагается на специалистов, т. е. каждый орган управления (либо исполнитель) специализирован на выполнении отдельных видов управленческой деятельности. В организации, как правило, специалисты одного профиля объединяются в специализированные структурные подразделения (отделы), например плановый отдел, бухгалтерию и т. д. Таким образом, общая задача управления организацией делится, начиная со среднего уровня, по функциональному критерию. Отсюда и название — функциональная структура управления, схема которой представлена на рис. 10.3.1. Вместо универсальных менеджеров, которые должны разбираться и выполнять все функции управления, появляется штат специалистов, имеющих высокую компетенцию в своей области и отвечающих за определенное направление (например, планирование и прогнозирование).

Рис. 10.3.1. Функциональная структура управления

Функциональная структура управления реализует принцип разделения и закрепления функций управления между структурными подразделениями, предусматривает подчинение каждого линейного подразделения нижнего уровня нескольким руководителям вышестоящего уровня, реализующим функции управления. Достоинства и недостатки этой структуры представлены в табл. 10.3.1.

Таблица 10.3.1. Преимущества и недостатки функциональной структуры управления

На предприятиях крупного и среднего бизнеса применима линейно-функциональная структура управления, схема которой представлена на рис. 10.3.2. до сих пор широко используемая российскими организациями.

Линейно-функциональная структура реализует принцип единоначалия, линейного построения структурных подразделений, распределения функций управления между ними и рационального сочетания централизации и децентрализации.

Типичными уровнями управления в линейно-функциональной структуре выступают:

- высшийинституциональный уровень (генеральный директор, директор, президент). Деятельность руководителя данного звена обусловлена целями и стратегиями развития системы в целом. На этом уровне реализуется большая часть внешних связей. Здесь велика роль личности и ее профессиональных качеств;

- среднийуправленческий уровень, объединяющий руководителей среднего звена и их аппарат. Менеджеры среднего звена решают задачи, вытекающие из функциональной специфики;

- низшийпроизводственно-технический уровень, объединяющий руководителей низового звена, находящихся непосредственно над исполнителями (старший мастер, мастер). Руководителей низшего звена называют также операционными. Они ответственны за обеспечение производственного процесса и за работу с людьми. Коммуникации здесь преимущественно внутригрупповые и межгрупповые.

Рис. 10.3.2. Линейно-функциональная структура управления

При такой структуре управления всю полноту власти берет на себя линейный руководитель, возглавляющий определенный коллектив. Ему при разработке конкретных вопросов и подготовке соответствующих решений, программ, планов помогает специальный аппарат, состоящий из функциональных подразделений (управлений, отделов, бюро и т. п.). В данном случае функциональные структурные подразделения находятся в подчинении главного линейного руководителя. Свои решения они проводят в жизнь либо через главного руководителя, либо (в пределах своих полномочий) непосредственно через соответствующих руководителей служб-исполнителей.

Преимущества и недостатки линейно-функциональной структуры управления представлены в табл. 10.3.2.

Многолетний опыт использования линейно-функциональных структур управления показал, что они наиболее эффективны там, где аппарат управления выполняет рутинные, часто повторяющиеся и редко меняющиеся задачи и функции. Их преимущество проявляются в управлении организациями с массовыми или крупносерийными типами производства, когда последнее менее восприимчиво к прогрессу в области науки и техники. При такой организации управления предприятие может успешно функционировать лишь тогда, когда изменения по всем структурным подразделениям происходят равномерно. Но так как в реальных условиях этого нет, наблюдается неадекватность реакции системы управления на требования внешней среды.

Таблица 10.3.2. Преимущества и недостатки линейно-функциональной структуры управления

Положение усугубляется утратой гибкости во взаимоотношениях работников аппарата и процедур. В результате затрудняется и замедляется передача информации, что не может не сказываться на скорости и своевременности принятия управленческих решений. Необходимость согласования действий разных функциональных служб резко увеличивает объем работы руководителя организации и его заместителей, т. е. высшего эшелона управления.

Недостатки линейно-функциональной структуры управления на практике усугубляются в условиях хозяйствования, при которых возможно несоответствие между ответственностью и полномочиями руководителей разных уровней и подразделений, превышены нормы управляемости, особенно у директоров и их заместителей; формируются нерациональные информационные потоки; чрезмерно централизуется оперативное управление производством; не учитывается специфика работы различных подразделений; отсутствуют необходимые нормативные и регламентирующие документы.

Следует отметить, что в России в условиях командно-административной системы многие годы линейно-функциональный тип структуры управления был преобладающим. Можно сказать, что и в настоящее время линейно-функциональные структуры или их элементы распространены в разных отраслях народного хозяйства.

Разновидностью линейно-функциональной структуры являются линейно-штабные структуры, когда функциональные подразделения создаются на каждом иерархическом уровне. При этом возможны две формы связей подчиненности: непосредственно руководителю линейного подразделения данного уровня и руководителю соответствующего функционального подразделения вышестоящего уровня. Достоинства линейно-штабной структуры управления способствуют высокой профессиональной специализации, стандартизации, формализации и программированию процессов управления. Схема линейно-штабной структуры управления представлена на рис. 10.3.3.

Рис. 10.3.3. Линейно-штабная структура управления

В пирамидальных структурах рассмотренные управленческие связи ограничены двумя измерениями: вертикальными и горизонтальными. При их построении оперируют ограничивающим допущением, согласно которому организационная структура должна быть представлена на двумерной схеме, вычерчиваемой на плоской поверхности. Эти ограничения на структуру часто вызывают серьезные и дорогостоящие последствия. Во-первых, между отдельными структурными подразделениями возникает не сотрудничество, а конкуренция. Во-вторых, такой способ представления структуры серьезно затрудняет определение функций отдельных подразделений и измерение показателей качества работы вследствие большой их взаимозависимости. В-третьих, это способствует созданию структур, сопротивляющихся изменениям. Поэтому они перерождаются в бюрократические структуры, не поддающиеся адаптации. В-четвертых, двумерное представление организационной структуры ограничивает число и характер возможных вариантов решения возникающих проблем. При наличии такого ограничения невозможны решения, обеспечивающие развитие организации с учетом технических и социальных изменений, темпы которых все больше и больше растут. Существующая обстановка требует, чтобы организации были не только готовы к любым изменениям, но и способны были им подвергаться.

Перечисленные недостатки рассмотренных выше структур можно преодолеть путем построения адаптивной организационной структуры.

10.4. Дивизиональные структуры управления

Дивизиональные структуры — это специфические виды структур бюрократического типа, в которых варьируются принципы межфирменного и межфункционального взаимодействия на основе линейно-функциональных связей. Но в силу специфического построения подразделений — либо с ориентацией на регион, либо на продукт, либо на потребителя — эти структуры весьма динамичны и близки к адаптивному типу. С увеличением размеров фирм, внедрением новых технологий, повышением изменчивости внешней среды происходит структуризация органов управления путем выделения управленческих звеньев, специализирующихся по видам товаров — продуктовая структура (рис. 10.4.1), группам потребителей — структура, ориентированная на потребителя (рис. 10.4.2), географическим районам — региональная структура (рис. 10.4.3) и смешанная дивизиональная структура (рис. 10.4.4).

Рис. 10.4.1. Продуктовая структура

Рис. 10.4.2. Структура управления, ориентированная на потребителя

Рис. 10.4.3. Региональная структура управления

Рис. 10.4.4. Смешанная дивизиональная структура управления

Таблица 10.4.1. Сравнение линейно-функциональной и дивизиональной ОСУ

Отход от использования строго функциональных схем управления корпорациями в пользу дивизиональной, организованной по отделениям структуры достаточно отчетливо прослеживается по мере увеличения степени диверсификации производства.

Основу этого типа структуры составляет довольно устойчивая неизменная форма — отделение (филиал), специализированное на одном из параметров: продукте (изделии, услуге), районе расположения, функции. Естественно, что организационная структура самих отделений может быть самой разнообразной, соответствующей их целям и задачам. Эти отделения (филиалы) и другие организационные формы могут гибко, часто и подвижно меняться, использовать различные временные формы — рабочие группы, проектные центры. Конфигурация организации в этом случае будет меняться, в целом сохраняя отделения.

Широкому распространению и живучести организационных структур по отделениям способствуют:

- очевидная целесообразность отделений. Все главные функции управления и деятельности: производство, финансы, сбыт, кадры — имеют место в каждом отделении;

- четкая система правил, определяющих условия, при которых для нового измерения (продукта, географии, функции) автоматически создается независимое отделение;

- упорядоченность перераспределения людей и даже продуктов или ассортимента между отделениями.

Простота структурного построения такого типа фактически реализует в явной форме принцип делегирования полномочий и ответственности на нижние уровни управления, развития (расширения) горизонтальных связей и гибкости. Благодаря простоте формы повышается мобильность базовой структуры путем создания для решения проблем рабочих групп, проектных центров и других временных целевых органов.

Важным преимуществом организации является сокращение штата управления. Заслуживает внимания тот факт, что, несмотря на рост числа отделений и, соответственно, числа руководителей, в целом число управленцев сокращается. Это сокращение касается в первую очередь высших уровней управления.

Мировая практика показала: с введением дивизиональных принципов структура управления организацией (и входящими в нее отделениями) в основе своей остается линейно-функциональной, и одновременно усиливается ее иерархичность, т. е. управленческая вертикаль. В результате существенно уменьшается нагрузка на верхний эшелон управления, который сосредоточивается на стратегическом менеджменте организации в целом, а отделения, обретающие оперативно-хозяйственную самостоятельность, начинают работать как «центры прибыли», активно использующие предоставленную им свободу для повышения эффективности своей деятельности.

Неопределенность внешних факторов внутрифирменного развития требует перехода к органическим адаптивным формам организации, характеризующимся отсутствием бюрократической регламентации деятельности органов управления. Неопределенность внешних факторов и ускорение их изменения ведут к тому, что в деятельности управляющих все реже повторяются одни и те же работы, становится сложно регламентировать выполнение различных функций.

Поэтому в 80-е г. усилилась тенденция к созданию временных органов управления, а также централизации важнейших функций на высшем уровне управления организациями, что проявилось в формировании органических адаптивных типов организационных структур, и прежде всего таких, как проектная и матричная организации.

10.5. Органические (адаптивные) структуры управления

К органическим (адаптивным) структурам управления относят — проектные структуры, матричные структуры и ряд новых типов структур.

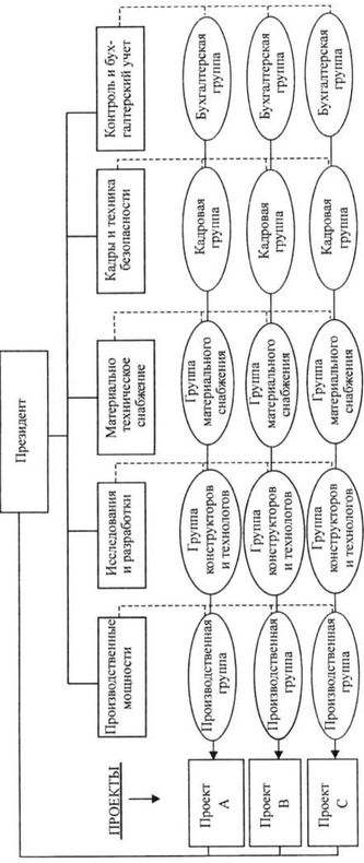
Под проектной структурой понимается временная организация, создаваемая для решения конкретной комплексной задачи (разработки проекта и его реализации). В одну команду собираются квалифицированные работники разных профессий, специалисты, исследователи для осуществления определенного проекта с заданным уровнем качества и в рамках выделенных для этой цели материальных, финансовых и трудовых ресурсов. После завершения проекта и решения всех связанных с этим задач привлеченные в команду работники возвращаются в свои подразделения к постоянной работе или переходят на работу по выполнению другого проекта. Руководителю проекта полностью подчинены все члены команды и все выделенные для данной цели ресурсы.

Матричные организационные структуры основаны на принципах закрепления двойного подчинения. Эта структура управления является наиболее сложной из всех имеющихся в практике. Типовая схема такой структуры представлена на рис. 10.5.1.

В этих структурах по вертикали показано управление структурными подразделениями организации, по горизонтали — отдельными программами и проектами (например, при организации исследований и разработок), для выполнения которых на время привлекаются специалисты и ресурсы из различных подразделений организации.

Матричная структура предусматривает больший объем информации и принятых решений, чем в предыдущих организационных системах. Отличительной чертой матричного подхода является формальное наличие у работника одновременно двух руководителей с равными правами. Эта система двойного подчинения основана на комбинации двух начал — функционального и продуктового.

Функциональная (или техническая) часть матрицы ответственна за обеспечение проекта спецификациями, техническим руководством, квалифицированным персоналом и его развитием.

Продуктовая (или административная) часть матрицы отвечает за планирование работы, управление и оценку результатов, выполнение рабочих операций, достижение поставленных целей.

Комбинация этих двух частей направлена на поддержание баланса между техническими (как хорошо работа выполнена) и административными (какая работа сделана и во сколько это обошлось) целями. Эффективное переплетение вертикальных (административная часть) и горизонтальных (техническая часть) связей и коммуникаций обеспечивает требуемый баланс.

Рис. 10.5.1. Матричная организационная структура управления

Каждая матрица отношений включает три типа ролей в организации:

1) главный руководитель, поддерживающий баланс в схеме двойного подчинения;

2) руководители функциональных и продуктовых подразделений, «делящие» подчиненного в ячейке матрицы между собой;

3) руководители ячеек матрицы, равно отчитывающиеся и перед функциональным, и перед продуктовым руководителем.

Специалисты функциональных отделов закрепляются на формальной основе за определенным продуктом и поэтому должны подчиняться двум руководителям. Эффективная поддержка данных ролей на должном уровне предъявляет очень высокие требования к персоналу во всех отношениях. Безусловно, существуют и недостатки использования матричных структур в организации, которые в обобщенном виде представлены в табл. 10.5.1.

Таблица 10.5.1. Недостатки использования матричных структур в организации и предложения по их нейтрализации

Таким образом можно определить, что механистическая организационная структура характеризуется высокой специализацией, жесткой департаментализацией, невысокими нормами управляемости, высоким уровнем формализации, ограниченным информационным обменом (причем передача информации происходит главным образом по нисходящей, т. е. сверху вниз) и тем, что рядовые сотрудники принимают незначительное участие в процессе принятия решений.

Органическая организационная структура характеризуется высокой степенью адаптивности и гибкости, незначительной специализацией рабочих заданий, минимальным уровнем формализации и малой степенью непосредственного надзора над работниками.

В табл. 10.5.2 дана сравнительная характеристика организаций механического и органического типов.

Таблица 10.5.2. Сравнительная характеристика организаций механистического и органического типов

Развитие стратегии организаций является важной причиной их перехода к новым формам организационных структур. Органическими элементами стратегии становится увеличение размеров фирмы и расширение ее производственно-хозяйственных операций, диверсификация производства, интенсивное проникновение на зарубежные рынки.

Специалисты указывают на тесную зависимость между размерами фирмы и организационной структурой управления. Расширение размеров предприятия, усложнение внутренних взаимосвязей создают условия, а также обусловливают необходимость для принятия комплексных решений, направленных на перестройку организации внутрифирменного управления, увеличение размеров фирмы ведет к углублению структурной дифференциации (филиалов, уровней управления, организационных подразделений).

В свою очередь, это приводит к росту административно-управленческих расходов, а также затрат, связанных с координацией, но не снижает преимущества гомогенности крупных фирм, которое обусловлено тем, что они управляются из единого центра. Однако структурная дифференциация, свойственная крупным фирмам, требует применения косвенных (экономических) методов управления и координации деятельности различных организационных подразделений.

10.6. Виды комитетов

Важнейшим средством управления, присущим практически всем организационным структурам управления и в особенности организационным структурам крупных организаций, являются комитеты или комиссии. Комитет — одна из форм разделения управленческой работы, которая характеризуется общими вопросами.

Члены комитета осуществляют определенную управленческую функцию, несут за нее ответственность и обладают необходимыми полномочиями. Рассмотренные методы разделения подразумевают определение основной функции управленческой единицы, которая, в свою очередь, подразделяется на другие функции, выполняемые определенным человеком, обладающим необходимыми полномочиями. К несомненным преимуществам комитетов относится коллективное управление, координация и взаимодействие, обмен информацией и идеями и т. д.

Комитеты распределены по управленческим уровням организационной структуры управления и различным специализациям. Сам совет администрации формируется в форме комитета и подкомитетов, решающих различные задачи. При создании комитетов необходимо учитывать недостатки таких формирований, выражающиеся в замедленном принятии решений, разбросанности ответственности, потере времени, которые необходимо избегать. Это одна из причин, по которым некоторые ученые призывают не использовать комитеты в деятельной исполнительной администрации.

Комитеты формируются с целью решения каких-либо постоянных или временных задач. Ниже перечислены основные виды комитетов.

1.  Консультативные комитеты в сфере руководства. Состоят из экспертов, оказывающих консультативную помощь руководителям организаций в частности, Совету администрации и генеральному директору, в общих вопросах.

2.  Консультативные комитеты в исполнительской сфере. Обычно формируются на средних и низших управленческих уровнях и предоставляют техническую консультацию в вопросах, связанных с производственным процессом, маркетингом и т. д. (например, комитеты технических исследований и др.).

3.  Функциональные комитеты. Такие комитеты решают задачи, которые могут быть выполнены какой-либо управленческой единицей или определенным работником. Поэтому они могут формироваться вместо таких единиц или наряду с ними. Деятельность таких комитетов ограничивается принятием решений без их осуществления (например, комитет ценообразования, производства, финансов и т.д.). Иногда такие комитеты принимают решения и обязаны их осуществить (например, комитеты снабжения и реализации). Также существуют комитеты, деятельность которых ограничивается только выполнением решений, принятых другими инстанциями (комитет заключения контрактов по купле и продаже).

4.  Координационные комитеты. Формируются из представителей различных управленческих единиц, совместно осуществляющих координацию принятия решения в разных структурах или выполнение этого решения.

5.  Специальные комитеты. Создаются для осуществления определенных целей, которые не могут быть достигнуты другими методами (например, комитет повышения квалификации служащих, комитет по расширению работ предприятия).

Не подлежит сомнению преимущество использования комитетов в такой работе, где требуется согласованность действий управленческих единиц, консультация при принятии решений, определение полномочий и ответственности, разработка графика работы.

10.7. Новые типы организационных структур

В настоящее время анализируются и развиваются такие виды структур, как сетевая и виртуальная с «внутренними» рынками, многомерная структура, круговые корпорации, интеллектуальные организации, обучающие организации и др.{22}.

Сетевая структура означает, что организация дезагрегирует свои основные функции (производство, продажи, финансы, научно- исследовательские и опытно-конструкторские работы) между отдельными работающими по контрактам компаниями, в качестве брокера (посредника) которых выступает небольшая головная организация. Организационная схема гипотетической сетевой организации представлена на рис. 10.7.1.

Сетевые организации отличаются от организаций других типов рядом признаков. Во-первых, они больше полагаются на рыночные механизмы, чем на административные формы управления потоками ресурсов. Во-вторых, многие недавно разработанные сети предполагают более действенную и заинтересованную роль участников. В-третьих, во все большем количестве отраслей сети представляют собой объединение организаций, основанное на кооперации и взаимном владении акциями участниками группы — производителями, поставщиками, торговыми и финансовыми компаниями. Основные преимущества и недостатки сетевой структуры организаций представлены в табл. 10.7.1.

Рис. 10.7.1. Схема сетевой организации

Таблица 10.7.1. Основные преимущества и недостатки сетевой структуры организации

С сетевой структурой тесно связана так называемая виртуальная организация или структура. Виртуальная организация представляет собой временную сеть компаний, которые оперативно объединяются для использования быстро меняющихся возможностей рынка.

В отличие от традиционных слияний и поглощений партнеры в виртуальных организациях делят издержки, используют производственный опыт друг друга и доступ к международным рынкам. Отличительные признаки виртуальных организаций будущего можно представить следующим образом:

- использование информационных технологий для установления прочных контактов;

- объединение усилий для реализации новых возможностей;

- отсутствие традиционных границ — при тесном сотрудничестве производителей, поставщиков, клиентов трудно определить, где начинается одна компания и заканчивается другая.

- доверие — партнеры разделяют чувство «общей судьбы», понимая, что судьба каждого из них зависит от другого;

- совершенство — поскольку каждый партнер привносит в союз свою «основную компетенцию», можно создать организацию, современную во всех отношениях.

Анализ опыта построения организационных структур показывает, что формирование управленческих подразделений находится под существенным влиянием внешней и внутренней среды организации. Это является главной причиной невозможности применения некой единой модели управленческой структуры для всех организаций. Кроме того, эта невозможность обусловлена специфическими особенностями конкретной организации. Создание современной эффективной управленческой структуры должно опираться на научные методы и принципы построения организационных структур.

Главными характерными чертами новых систем внутрифирменного управления должны стать: ориентация на долгосрочную перспективу; проведение фундаментальных исследований; диверсификация операций; инновационная деятельность; максимальное использование творческой активности персонала. Децентрализация, сокращение аппарата управления, продвижение работников и их оплата в зависимости от реальных результатов станут основными направлениями изменений в аппарате управления.

Процесс модификации организационных структур управления развивается по ряду конкретных направлений. В качестве основных можно выделить следующие:

1. Осуществление децентрализации производственных и сбытовых операций. С этой целью в рамках крупнейших компаний уже созданы или создаются полуавтономные или автономные отделения, полностью отвечающие за прибыль и убытки. На эти отделения возлагается вся полнота ответственности за организацию производственно-сбытовой деятельности. Каждое отделение полностью финансирует свою деятельность, вступает на коммерческой основе в партнерские отношения с любыми организациями.

2. Нововведенческая экспансия, поиск новых рынков и диверсификация операций. Это направление реализуется через создание в рамках крупных компаний нововведенческих фирм, ориентированных на производство и самостоятельное продвижение на рынках новых изделий и технологий и действующих на принципах «рискового финансирования». Широко распространенной практикой крупных компаний становится создание в наиболее перспективных областях небольших предприятий, нацеленных на завоевание в кратчайшие сроки прочных позиций на рынке.

3. Дебюрократизация, постоянное повышение творческой производственной отдачи персонала. Для этого предпринимаются самые разнообразные меры, включая распределение акций среди персонала и образование предприятий, находящихся в коллективной собственности их работников.

В современных условиях объективно требуются не только принципиально новые для нашей страны формы организации, не только в корне отличные методы управления, но и переходные режимы деятельности, поэтапная трансформация одних структур в другие. Для того чтобы всесторонне учесть как внутренние особенности организаций, так и динамично меняющиеся внешние обстоятельства, а также складывающиеся прогрессивные тенденции, необходимо использовать системный подход к формированию и реорганизации предприятий.

Системность подхода к формированию организационной структуры проявляется в следующем:

- не упускать из виду ни одну из управленческих задач, без решения которых реализация целей окажется неполной;

- выявлять и взаимосвязывать применительно к этим задачам систему функций, прав и ответственности по вертикали управления;

- исследовать и организационно оформить все связи и отношения по горизонтали управления, т. е. по координации деятельности разных звеньев и органов управления при выполнении общих текущих задач и реализации перспективных межфункциональных программ; обеспечивать органическое сочетание вертикали и горизонтали управления, имея в виду нахождение оптимального для данных условий соотношения централизации и децентрализации в управлении.

Все это требует тщательно разработанной поэтапной процедуры проектирования структур, детального анализа и определения системы целей, продуманного выделения организационных подразделений и форм их координации, разработки соответствующих документов.

Тема 11. Организационное проектирование

11.1. Цели и факторы организационного проектирования

Проектирование (от лат. projectus — брошенный вперед) — процесс создания проекта, прототипа, прообраза предполагаемого или возможного объекта, состояния. В отличие от конструирования оно заключается в описании не только технических сторон будущего объекта, его состава и свойств, но и экономических, социальных, организационных аспектов моделируемых систем{23}.

Суть организационного проектирования состоит в разработке таких организационных элементов и отношений в создаваемой (моделируемой) системе, при реализации которых возникшее организационное целое обладало бы свойствами высокой надежности, устойчивости и экономичности.

Цели организационного проектирования:

- создание новой системы;

- частичное усовершенствование существующей организационной системы;

- радикальное преобразование существующей организационной системы.

Организационная система в совокупности состоит из двух частей:

1) механизм внутреннего функционирования, который включает элементы, необходимые для процесса управленческой и производственной деятельности (функциональные и организационные структуры, организационные документы, положения об отделах и службах, должностные инструкции, производственное оборудование, компьютерная и организационная техника, офисная мебель, сети связи и система документооборота);

2) механизм отношений с внешней средой, который содержит элементы, необходимые для формирования благоприятного делового поля внешних отношений организации (законодательные акты, договоренности, контракты, соглашения и т. п.).

Системы, выступая объектами проектирования, придают ему черты комплексности и системной целостности. С точки зрения определения места этапа проектирования в системе организационной деятельности он может рассматриваться как подготовка действия или продукта, т. е. подготовительное действие, представляющее собой осмысление того, что подготавливается.

В связи с этим в процессе проектирования должны быть определены необходимые пропорции между элементами системы, осуществлено их пространственное размещение, регламентировано функционирование во времени, установлены наиболее рациональные варианты связей и отношений.

В структурном плане организационное проектирование различается в зависимости от объекта по ориентации: создание новой системы, частичное усовершенствование или ее радикальные преобразования.

В новых условиях в проектировании организационных структур необходимо широко использовать системный подход. Он предполагает учет внешних и внутренних факторов окружения организации. Как показывают исследования, эти факторы носят ситуационный характер и делятся на пять групп:

1) состояние внешней среды;

2) используемая технология работы в организации;

3) стратегический выбор руководства организации в соответствии с ее целями;

4) поведение работников;

5) размер организации.

Внешнюю среду характеризуют сложность и динамизм. Сложность внешнего окружения определяется тем, как много факторов влияют на проектирование организации. Динамизм внешнего окружения характеризуется тем, как быстро меняются факторы, влияющие на проектирование организации.

Под технологией понимаются действия работника, материалы, оборудование, а также способы, которые он использует для преобразования объекта своих действий. Проектирование организации связано с используемой технологией по двум направлениям:

1) разделение труда;

2) создание подразделений на основе группировки работ.

Англичанка Д. Вудворт одной из первых установила зависимость между технологией и организационным проектированием. В зависимости от типа вида технологии организационные структуры разделяются на несколько типов. С увеличением технологической сложности возрастают число уровней управления и организационная пирамида, увеличивается интервал контроля высшего звена управления. При технологии средней степени сложности интервал контроля менеджеров низших уровней становится наибольшим. Организации, характеризующиеся наибольшей структурной сложностью и наименьшей сложностью технологий, имеют тенденцию к более органическим проектам, а организации, использующие технологии средней степени сложности, предпочитают более механистические проекты.

А. Чандлер сформулировал принцип, согласно которому проектирование организации должно соответствовать стратегии, выбранной фирмой. Им был сделан вывод о том, что со сменой стратегии перед организацией возникают новые проблемы, их решение непосредственно связано с проектированием новой организационной системы для фирмы. Отказ от перепроектирования организации приводит к тому, что фирма оказывается не в состоянии достичь принятых ею целей.

Дж. Гелбрейт определил элементы современного организационного проектирования, а также влияние стратегии на дизайн организации и влияние дизайна на стратегию организации.

Выбор высшим руководством той или иной стратегии оказывает непосредственное воздействие на многие решения в отношении проектирования организации. Рассмотрим три возможные области стратегического выбора.

Первая касается той идеологии управления, которой придерживается высшее руководство. Ценности и принципы, лежащие в ее основе, могут решающим образом повлиять на такие элементы проектирования организации, как развитие горизонтальных связей, масштаб управляемости, количество уровней иерархии, звенность организационной системы, централизация и децентрализация.

Вторая имеет отношение к тому, какие потребители будут обслуживаться организацией. Если у организации имеются индивидуальные и «организованные» потребители, то эта двойственность должна найти отражение при ее проектировании во всех элементах.

Третья область стратегического выбора — это рынки сбыта и территориальное размещение производства. Выход компании с целью размещения производства или продажи продукции за рамки национальных границ потребует учета при проектировании ее организационной системы, фактора интернационализации и глобализации в бизнесе.

При проектировании необходимо учитывать потребности, интересы, установки, уровень квалификации, мотивации и дисциплинированности работников.

Размер организации оказывает определенное влияние на организационную структуру. Он влияет на ее проект следующим образом: когда организации становятся крупнее, то они нуждаются в более сложных проектах. Размер организации оказывает гораздо большее, чем технологии, влияние на характер организационного проектирования.

Таким образом, роль стратегии, окружения, технологии и размера является центральной при принятии большинства решений организационного проектирования.

11.2. Процесс организационного проектирования

Проектирование организационной системы представляет собой процесс создания прообраза будущей организации{24}. Оно должно включать в себя не только описание организации на начальный момент ее существования, но и прогноз ее дальнейшего развития. Особое место в этом процессе отводится формированию организационной структуры.

Научно обоснованный процесс формирования организационных структур управления основан на использовании методов системного подхода, который базируется на соблюдении следующих принципов:

- корректная формулировка целей и подцелей проектируемой организации с учетом их актуальности, новизны и возможности практической реализации;

- постановка всех управленческих задач, без решения которых реализация целей кажется невыполнимой;

- обоснованное распределение применительно к этим задачам функций, прав и ответственности по вертикали управления — от генерального директора предприятия до исполнителей;

- выявление всех необходимых связей и отношений по горизонтали управления с целью координации деятельности всех функциональных звеньев и вспомогательных служб в рамках выполнения общих текущих задач и реализации перспективных производственных программ;

- ограниченное сочетание вертикали и горизонтали управления путем нахождения оптимального для данных условий соотношения централизации и децентрализации управления;

- соблюдение правил композиции и декомпозиции, сформулированных в законе единства анализа и синтеза.

При формировании организационной структуры уже на начальном этапе проектирования необходимо определить исходную позицию и выявить начальные условия. С этой целью нужно оценить влияние внешней среды с учетом системы связей элементов внутренней структуры с субъектами и объектами, находящимися вне организации. Также важно установить, какие факторы и явления во внешней среде могут оказать существенное влияние на деятельность организации.

В процессе проектирования структуры организации выделяют три этапа.

1.  Анализ действующей организационной структуры. Он призван установить, в какой мере она соответствует требованиям, предъявляемым к организации, т. е. насколько организационная структура рациональна с точки зрения установленных оценочных критериев.

К оценочным критериям обычно относят принципы управления:

- соотношение между централизацией и децентрализацией;

- объем контрольных функций, установленный для каждого уровня управления;

- анализ и оценка аппарата управления (количество сотрудников, наличие элементов дублирования, распределение полномочий и ответственности);

- анализ функций управления (способы и технология принятия управленческих решений, принципы и методы мотивирования работников);

- оценка хозяйственной деятельности (изменение технологии, углубление межфирменного сотрудничества, внедрение инноваций) и т. п.

В результате анализа выявляются недостатки, выясняются причины слишком медленного повышения эффективности управления.

2.  Проектирование организационных структур. Организация — весьма сложная система, включающая ряд подсистем: производственную (технологическую), экономическую, социальную, информационную, административную и др. Одни подсистемы поддаются рациональному проектированию, а другие (например, социально-психологическая), из-за большого числа переменных, которые не могут быть описаны только рациональными величинами, требуют диалектического подхода к качественному и количественному описанию их функции и задач. Этим объясняется специфика проектирования организационных структур управления. Ее суть состоит в количественно-качественном подходе к оценке организационных структур, сочетании формализованных методов с субъективной деятельностью руководителей, специалистов и экспертов по выбору и оценке наилучших вариантов организационных проектов.

3.  Оценка эффективности организационных структур исходя из уровня реализации заданий, надежности и организованности системы управления, скорости и оптимальности принимаемых решений.

Содержание процесса проектирования организационной структуры в значительной мере универсально. Оно включает формулировку целей и задач, определение состава и места подразделений, их ресурсное обеспечение (включая численность работающих), разработку регламентирующих процедур, документов, положений, закрепляющих и регулирующих формы, методы, процессы, которые осуществляются в организационной системе управления. Этот процесс можно организовать в три крупные стадии:

1) формирование общей структурной схемы аппарата управления;

2) разработка состава основных подразделений и связей между ними;

3) регламентация организационной структуры.

Формирование общей структурной схемы аппарата управления во всех случаях имеет принципиальное значение, поскольку при этом определяются главные характеристики организации, а также направления, по которым должно быть осуществлено более детальное проектирование как организационной структуры, так и других важнейших аспектов системы (внутриорганизационного экономического механизма, способов переработки информации, кадрового обеспечения). К принципиальным характеристикам организационной структуры, которые определяются на этой стадии, можно отнести: цели производственно-хозяйственной системы и проблемы, подлежащие решению; общую спецификацию функциональных и программно-целевых подсистем, обеспечивающих их достижение; число уровней в системе управления; степень централизации и децентрализации полномочий и ответственности на разных уровнях управления; основные формы взаимоотношений данной организации с внешней средой; требования к экономическому механизму, формам обработки информации, кадровому обеспечению организационной системы.

Основная особенность второй стадии процесса проектирования организационной структуры управления — разработки состава основных подразделений и связей между ними — заключается в том, что предусматривается реализация организационных решений не только в целом по крупным линейно-функциональным и программно-целевым блокам, но и по самостоятельным (базовым) подразделениям аппарата управления, распределение конкретных задач между ними и построение внутриорганизационных связей. Под базовыми подразделениями понимаются при этом самостоятельные структурные единицы (отделы, управления, бюро, секторы, лаборатории), на которые организационно разделяются линейно-функциональные и программно-целевые подсистемы. Базовые подразделения могут иметь свою внутреннюю структуру.

Третья стадия — регламентация организационной структуры — предусматривает разработку количественных характеристик аппарата управления и процедур управленческой деятельности. Она включает в себя следующее: определение состава внутренних элементов базовых подразделений (бюро, групп и должностей); определение проектной численности подразделений, трудоемкости основных видов работ и квалификационного состава исполнителей; распределение задач и работ между конкретными исполнителями; установление ответственности за их выполнение, разработку процедур выполнения управленческих работ в подразделениях (в том числе на основе автоматизированной обработки информации), разработку порядка взаимодействия подразделений при выполнении взаимосвязанных комплексов работ; расчеты затрат на управление и показателей эффективности аппарата управления в условиях проектируемой организационной структуры.

Для случаев, когда требуется детализированная регламентация ответственности по отдельным этапам разработки и принятия решений при выполнении особо сложных задач, требующих взаимодействия многих звеньев и уровней управления, разрабатываются специфические документы, которые получили название органиграмм. Органиграмма представляет собой графическую интерпретацию процесса выполнения управленческих функций, их этапов и входящих в них работ, описывающую распределение организационных процедур разработки и принятия решения между подразделениями, их внутренними структурными органами и отдельными работниками. Совмещение организационного алгоритма механизма управления с алгоритмом технологической обработки информации, осуществляемое путем построения органиграммы, позволяет увязать процесс рационализации технологических маршрутов и информационных потоков с упорядочением взаимосвязей между структурными элементами системы управления, возникающими при организации согласованного выполнения ее задач и функций. В отличие от документограмм органиграммы не отражают информационного содержания выполняемых работ, они фиксируют лишь организацию управленческого процесса в виде распределения полномочий и ответственности за обеспечение, разработку и принятие управленческих решений.

При формировании структур программно-целевого управления наряду с органиграммами или вместо них целесообразно разрабатывать карты (матрицы) распределения прав и ответственности между органами линейно-функциональной и программно-целевой структур. В этих документах более детально и наглядно, чем в органиграммах, фиксируются общие права принятия решений, разделенная ответственность нескольких органов за разные аспекты одного результата, роль коллегиальных и консультативных органов в принятии решений. Совокупность документов, разработанных на всех стадиях проектирования, вместе с пояснительной запиской составляет проект организационной структуры управления.

10.3. Методы проектирования организационных структур и их изменения

Проектирование организационных структур управления осуществляется на базе следующих основных методов: аналогий, экспертно-аналитический, структуризации целей, организационного моделирования{25}, реинжиниринг бизнес-процессов.

Метод аналогий состоит в использовании опыта структур управления в аналогичных организациях и предусматривает выработку типовых структур управления в различных видах организаций условий и механизма их применения.

Экспертно-аналитический метод состоит в изучении рекомендаций и предложений экспертов и опытных управленцев-практиков. Цель этого метода — выявить специфические особенности работы аппарата управления, возможные недостатки в деятельности различных звеньев организационных структур, и разработать обоснованные рекомендации по их совершенствованию. На основе опроса экспертов осуществляются диагностический анализ организационных структур действующих фирм и их оценка, формулируются научно-обоснованные формирования организационных структур с учетом конкретных ситуаций и условий деятельности фирмы.

Метод структуризации целей состоит в выработке системы целей организации, включая их количественную и качественную формулировки, и последующий анализ организационных структур с точки зрения их соответствия системе целей. При его использовании выполняются следующие этапы:

- разработка системы «дерева» целей;

- экспертный анализ предлагаемых вариантов организационной структуры с точки зрения организационной обеспеченности достижения каждой из целей;

- составление таблиц полномочий и ответственности за достижение целей как каждым подразделением, так и по комплексным многофункциональным видам деятельности, где конкретизируются границы ответственности (материальные ресурсы, производственные, информационные процессы); определение конкретных итогов, за достижение которых устанавливается ответственность полномочий, которыми наделяются соответствующие органы управления.

Метод организационного моделирования состоит в разработке формализованных математических, графических, машинных и других отображений распределения полномочий и ответственности в организации, являющихся базой для построения, анализа и оценки различных вариантов организационных структур. Выделяют следующие основные типы организационных моделей:

- математико-кибернетические модели иерархических управленческих структур, описывают организационные связи и отношения в виде математических уравнений и неравенств (модели многоступенчатой оптимизации и др.);

- графоаналитические модели организационных систем — представляют собой сетевые, матричные и другие табличные и графические отображения распределения функций, полномочий ответственности, организационных связей (матриц, распределения полномочий и ответственности и др.);

- натурные модели организационных структур и процессов — заключаются в оценке их функционирования в реальных организационных условиях (эксперименты и др.);

- математико-статистические модели зависимостей между исходными факторами организационных систем и характеристиками организационных структур (регрессивные модели зависимости показателей специализации, централизации, стандартизации управленческих работ от типа организационных задач и иных характеристик и др.).

Процесс организационного проектирования должен базироваться на всей системе методов, которые используются с учетом этапов проектирования и складывающейся организационной ситуации.

При оценках эффективности организационной структуры могут быть использованы следующие группы показателей:

1) характеризующие эффективность системы управления, выражающиеся через конечные результаты деятельности организации и затраты на управление. В качестве получаемого эффекта могут рассматриваться объем выпускаемой продукции, прибыль, себестоимость, капитальные вложения, качество продукции и т. п.;

2) характеризующие содержание и организацию процесса управления, в том числе непосредственные результаты и затраты управленческого труда (учитываются текущие расходы на содержание аппарата управления, эксплуатацию технических средств, подготовку и переподготовку кадров и т. д.);

3) характеризующие рациональность организационной структуры и ее технико-организационный уровень. Они могут использоваться в качестве нормативных при анализе эффективности проектируемых вариантов организационных структур. К ним относятся звенность системы управления, принятые нормы управляемости, уровень централизации функций управления и др.

Приведение структуры организации в соответствие с изменяющимися условиями является одной из важнейших задач управления{26}. В большинстве случаев решения о корректировке структур принимаются высшими руководителями как часть их основных обязанностей.

Как показывает опыт, большинство крупных успешных организаций ежегодно проводит небольшие организационные изменения, а раз в пять лет проводятся значительные по масштабам организационные изменения.

Можно назвать некоторые ситуации в отдельности или в комбинации, когда затраты на корректировку структуры или разработку нового проекта оправданы.

Неудовлетворительное функционирование предприятия. Наиболее распространенной причиной необходимости разработки нового проекта организации являются неудачи при осуществлении традиционных мер по снижению роста издержек, повышению производительности, расширению сужающихся внутренних и внешних рынков или привлечению новых финансовых ресурсов. Обычно прежде всего предпринимаются такие меры, как изменения в составе и уровне квалификации работающих, применение более совершенных методов управления, разработка специальных программ. Но в конце концов высшие руководители приходят к выводу, что причина неудовлетворительной деятельности предприятия заключается в определенных недостатках организационной структуры управления.

Перегрузка высшего руководства. Некоторым предприятиям удается функционировать удовлетворительно только ценой чрезмерной перегруженности работой высших руководителей. Если очевидные меры по изменению методов и процедур управления не позволяют уменьшить нагрузку руководителей, не приводят к ощутимым результатам, то весьма эффективным средством решения этой задачи становится перераспределение прав и функций, корректировка и уточнение форм организации.

Отсутствие ориентации на перспективу. Будущее развитие предприятия требует со стороны высших руководителей усиления внимания стратегическим задачам независимо от характера предприятия и рода его деятельности. И в то же время до сих пор многие руководители высшего ранга продолжают основное время уделять оперативным вопросам, а их решения, которые будут иметь влияние и в дальней перспективе, основываются на простой экстраполяции текущих тенденций на будущее. Высший руководитель (или их группа) должен осознавать, что его важнейшая обязанность заключается в том, чтобы сделать предприятие способным разработать и реализовать стратегическую программу с той полнотой, которую позволяет юридическая и экономическая самостоятельность данного предприятия. Это почти всегда связано с преобразованиями организационных форм, а также с введением новых или коренным изменением существующих процессов принятия решений.

Разногласия по организационным вопросам. Каждый опытный руководитель высшего ранга знает, что стабильность в организационной структуре предприятия, как правило, свидетельствует не столько о его внутренней гармонии, сколько об успешном решении конфликтных ситуаций. Существующая структура, какова бы она ни была, является препятствием для осуществления чьих-то амбиций, затрудняет достижение целей некоторыми отделами или подразделениями, недостаточно четко отражает значение функциональных ролей, допускает несправедливое распределение власти, положений и привилегий и т. д. Когда возникают глубокие и устойчивые разногласия по поводу организационной структуры и особенно, когда высшее руководство сомневается относительно ее оптимальной формы, единственным выходом является тщательное изучение ее структуры. Смена руководства часто влечет за собой реорганизацию. Одна группа руководителей может эффективно действовать в рамках конкретной структуры. Группа, которая придет ей на смену, может найти такую форму совершенно не соответствующей ее подходу к проблемам предприятия.

Рост масштаба деятельности. К росту масштаба деятельности предприятия можно приспособиться и посредством несущественных изменений в его структуре. Тем не менее если основная структура остается без изменений, то это затруднит координацию, руководители будут перегружены, ухудшится работа предприятия.

Увеличение разнообразия. Развитие или внедрение различной продукции либо услуг, выход на разнообразные рынки, дополнительное освоение новых производственных процессов вносят совершенно новые моменты в деятельность работы организации. Когда все это принимает огромные размеры (по используемым ресурсам, потребностям, риску, будущим возможностям), структурные изменения становятся неизбежными.

Объединение хозяйствующих субъектов. Слияние двух или нескольких предприятий, даже одинаковых по характеру, обязательно вносит некоторые изменения в организационную структуру. Проблемы совпадения функций аппаратов управления, лишнего персонала, путаница в распределении прав и ответственности требуют немедленного решения.

Изменение технологии управления. Научные достижения в области управления оказывают все большее влияние на современные организационные структуры и процессы (прогрессивные методы обработки информации, исследования операций и планирования, проектные и матричные формы построения и т. п.). Появляются новые должности и функциональные подразделения, изменяются процессы принятия решений.

Влияние технологии производственных процессов. Влияние научных и технических изменений на организационную структуру было и последние годы в наибольшей степени исследованным и популярным аспектом организационных изменений.

Внешняя экономическая обстановка. Большинство организаций находится в постоянно изменяющемся экономическом окружении, что ведет к изменению их целей и задач, а значит, и к необходимости совершенствования организационной структуры.

Как показывает опыт, процесс внесения корректив в организационную структуру управления должен предусматривать:

- систематический анализ функционирования организации и ее среды с целью выявления проблемных зон. Анализ может базироваться на сравнении конкурирующих или родственных организаций, представляющих иные сферы экономической деятельности;

- разработку генерального плана совершенствования организационной структуры;

- гарантию того, что план нововведений содержит максимально простые и конкретные предложения по изменению структуры управления;

- последовательную реализацию планируемых перемен. Введение незначительных изменений имеет большие шансы на успех, чем большие структурные изменения;

- поощрение повышения уровня информированности сотрудников, что позволит им оценить свою причастность к переменам, следовательно, усилит их ответственность.

Метод реинжиниринга бизнес-процессов. Новым радикальным методом организационной перестройки считается реинжиниринг бизнес-процессов, или реинжиниринг организации на основе бизнес-процессов.

Реинжиниринг — это фундаментальное переосмысление и радикальное перепроектирование бизнес-процессов с целью достижения существенных улучшений в таких ключевых показателях результативности, как затраты, качество, уровень обслуживания и оперативность. В этом определении содержатся четыре ключевых слова: «фундаментальный», «радикальный», «существенный», и «процессы»{27}.

Реинжиниринг нельзя путать и отождествлять с автоматизацией производства, реструктуризацией и уменьшением размеров фирмы, с реорганизацией, в результате которой уменьшается число уровней управления или осуществляется переход к горизонтальной структуре, с улучшением качества продукции или комплексным управлением качеством.

С точки зрения технологий реинжиниринг означает более эффективное использование имеющихся у организации материально-вещественных ресурсов и возможность применения более совершенных средств производства, но вместе с тем речь не идет о революционном изменении в производительных силах, хотя реинжиниринг может сопровождаться и такими изменениями. Однако потенциал реинжиниринга следует связывать не только с технологической стороной рассматриваемой проблемы, но и с экономической.

Все дело в организации, упорядочивании элементов и изменении самой структурной единицы фирмы, т. е. речь идет о переходе от технологических структурных единиц к экономическим на основе бизнес-процессов. Реорганизация самой единицы ведет к изменению и способа их (единиц) упорядочивания, а именно: осуществляется переход от иерархической бюрократической организации к плоским, горизонтальным, сетевым и иным подобным структурам, в которых заложены и другие принципы согласования и связывания частей (элементов) в целое (комплексы).

Экономический аспект реинжиниринга состоит в том, что в результате такого рода реорганизации появляются эффективные организации, имеющие конкурентные преимущества не в силу масштаба и разнообразия своей деятельности, а в силу реорганизации структурных единиц фирмы.

Следовательно, происходит подрыв монополистической силы (власти) на рынках и они могут стать в конечном итоге более конкурентными, а распределение общественных ресурсов — более эффективным.

Суть реинжиниринга заключается в том, что вначале единая деятельность фирмы как экономического субъекта разделяется на определенные части (бизнес-процессы), а затем они соединяются в новое целое, которое и обеспечивает кардинальное, коренное улучшение ситуации.

Реинжиниринг приводит к новой структуре компании, представляемой в виде определенной координации бизнес-процессов.

Бюрократическая форма нерыночной организации в виде вертикальной иерархии уступает место координации бизнес-процессов, которая может осуществляться в формах горизонтальных, сетевых и иных подобных внутрифирменных структур.

Все вышесказанное приводит к следующему:

1. Современные организации не просто становятся гибкими, они превращаются в «виртуальные» системы сетей, в «сумму контрактов» между поставщиками, специалистами, потребителями и обществом в целом.

2. Организации становятся все более «невидимыми» и «неосязаемыми», коренным образом меняются структуры управления. Не структуры, а отношения становятся источниками власти. Все более значимыми становятся способности и уровень квалификации работников, возрастает роль нематериальных активов, снижается роль традиционных материально-вещественных активов фирмы. Создается новый «социальный контракт», определяющий взаимные обязательства работников, менеджеров и собственников.

3. Современные организации — это совокупности работников и их взаимоотношений. Отсутствуют вертикальные иерархические структуры.

Общий вывод, который может быть сделан на основании новых подходов к современной организации: с одной стороны, вертикальные иерархические структуры заменяются горизонтальными, сетевыми, с другой — резко возрастает роль контрактной экономической организации.

Таким образом можно определить «рамки» процесса перехода к новым организациям. Здесь фактически проявляются два направления: первое — современная организация представляет собой совокупность скоординированных бизнес-процессов, прошедших реинжиниринговую перестройку; второе — современная корпорация есть не что иное, как совокупность контрактных отношений, малосовместимая с таким «анахронизмом», как вертикальная внутрифирменная иерархия (такая организация получила название виртуальной).

Завершая рассмотрение курса «Теория организации», парадигму{28} развития новых типов организаций можно представить следующим образом:

1. Экономический субъект осуществляет выбор формы защиты трансакции (сделки) из таких возможных типов экономической организации, как рынок, контрактная система, внутрифирменная иерархия, а также нерыночные отношения в рамках рыночных систем.

2. Размер организации определяется на основе учета трансакционных издержек, что предполагает ограниченную рациональность поведения экономических субъектов и небесплатность рыночных трансакций. Учитывается также и форма защиты трансакции (гарантии, обеспечиваемые определенной формой экономической организации). Принципиальные изменения происходят при определении элементарной единицы организации. Технологическая и функциональная единицы построения организации заменяются экономической — бизнес-процессом, имеющим своего конечного потребителя, находящегося как вовне, так и внутри организации.

3. Новая элементарная единица организации предполагает и иной способ упорядочивания ее элементов, им становится координация совокупности бизнес-процессов, отрицающая бюрократическую организацию и внутрифирменную иерархию как таковые.

4. Организация, построенная на основе координации совокупности бизнес-процессов, становится гибкой, ее структура находится в постоянном движении. Изменение структуры организации (управление структурой организации) становится одним из важнейших специфических менеджерских ресурсов, позволяющих повышать эффективность функционирования организации.

Вопросы к разделу IV:

1. Механистические (бюрократические) пирамидальные структуры, их преимущества и недостатки.

2. Дивизионильные структуры управления.

3. Органические (адаптивные) структуры управления и сравнение их с механистическими.

4. Виды комитетов в структуре управления.

5. Новые типы организационных структур, их достоинства и недостатки.

6. Цели и факторы организационного проектирования.

7. Процесс организационного проектирования.

8. Методы проектирования организационных структур и их изменения.

9. Причины корректировки структуры организации.

10. Реинжиниринг бизнес-процессов как метод организационной перестройки.

11. Основные направления развития современной теории организации.

Более 800 000 книг и аудиокниг! 📚

Получи 2 месяца Литрес Подписки в подарок и наслаждайся неограниченным чтением

ПОЛУЧИТЬ ПОДАРОК